Si te parecía loco que la IA ya haga tu trabajo, Sony quiere ir más allá: que juegue por ti

Ps
Sin comentarios Facebook Twitter Flipboard E-mail
kenth

Kenth

Editor

La inteligencia artificial se ha integrado profundamente en nuestra rutina diaria. Ya sea de forma directa o indirecta, esta herramienta busca facilitar casi cualquier hábito, actividad o forma de entretenimiento. Recientemente, se ha dado a conocer una patente de PlayStation que sugiere un futuro donde la IA podría tomar el control del mando por ti en esos momentos de frustración extrema donde no logras avanzar.

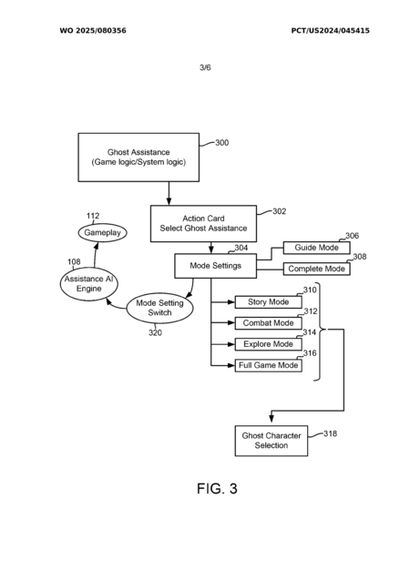
Bajo el nombre de “Ghost Player”, esta tecnología no se limita a ser una simple ayuda; está diseñada para superar zonas o retos específicos donde el jugador se encuentre bloqueado. El sistema propone dos niveles de asistencia: un modo "guía" y un modo "completo", permitiendo que el usuario elija entre recibir pistas o dejar que la consola resuelva el problema por sí misma.

Dualsense
Un vistazo a…
Sony A6600 de viaje por NEW YORK: una versátil cámara para profesionales

De la idea al registro: el origen de Ghost Player

Es importante señalar que esta patente no es del todo nueva, pues tuvo sus primeras apariciones en 2024. Según informa el medio VGC, el documento fue presentado ante la Organización Mundial de la Propiedad Intelectual, donde se publicaron informes que detallan sus características técnicas, bocetos iniciales y conceptos de aplicación.

Ai Ghost Game Asistance 2 1920x2717 Imagen compartida por VGC.

La diferencia entre los dos modos de uso es la clave de esta patente de Sony:

  • Modo Guía: El sistema presenta soluciones visuales o instrucciones para resolver acertijos, rompecabezas o escenarios complejos que el jugador no pueda superar por cuenta propia.
  • Modo Completo: Aquí la IA toma el control total del personaje para completar el puzle en cuestión. El jugador se convierte en espectador hasta que la zona crítica es superada.

Además, esta herramienta aprendería de los videojuegos que estemos jugando basándose en lo que tengamos en pantalla, por lo que no sería necesario brindar comando de texto para las soluciones o guías.

Aunque este último modo podría parecer contradictorio con la esencia de los videojuegos (superar retos por mérito propio), cabe recordar que se trata de una patente. Esto significa que no está confirmada su implementación ni hay indicios claros de que vaya a llegar a las consolas PlayStation en el futuro cercano.

 El contraste con Microsoft: Copilot ya es una realidad en el gaming

A diferencia de Sony, Microsoft ya ha tomado la delantera implementando su inteligencia artificial, Copilot, directamente en la experiencia de juego. Durante diversas demostraciones, se ha visto cómo esta herramienta asiste en tiempo real en títulos como Minecraft, enseñando al usuario desde cómo fabricar objetos hasta estrategias para sobrevivir en su mundo hostil.

La principal diferencia radica en la ejecución: Copilot no controla al personaje. En su lugar, utiliza una ventana secundaria para otorgar guías, consejos y respuestas a dudas específicas, como la mejor estrategia para derrotar a un jefe o qué paso seguir en una aventura. Como bien se ha mencionado en el sector:

"No se trata solo de que la IA aparezca para ayudarte, sino de que aparezca en el momento justo. Tenemos que pensar seriamente en la experiencia que hemos creado; no puede ser intrusiva".
xbox

Actualmente, Copilot for Gaming se encuentra disponible en fase beta para usuarios de Xbox y PC. Para acceder a ella, los jugadores deben utilizar la pestaña “Gaming Copilot” en sus dispositivos y, en el caso de Windows, es indispensable contar con la aplicación de Xbox instalada o a través de dispositivos iOS o Android en la App Xbox.

Imagen | Samuel Regan-Asante

Inicio